NOS MARQUES

Toutes nos marques

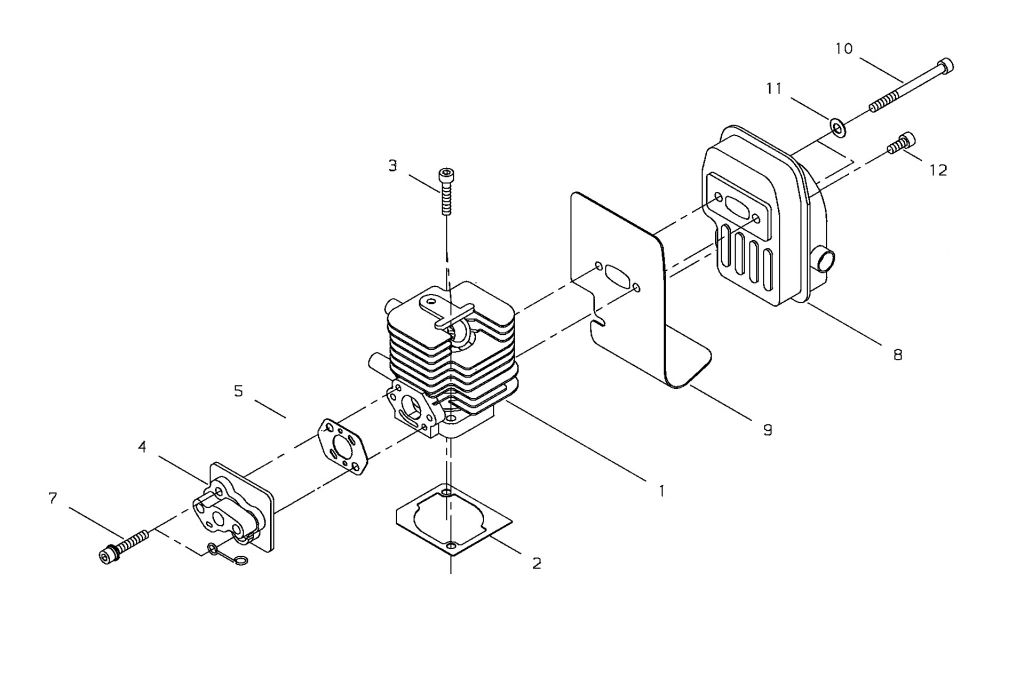
Isolant (repère N°4).

 

 

35,60

Plan du site CGV Mentions légales Partenaires

Paiement par CB

Paiement sécurisé par cryptage SSL

Magasin de VOUGY (Loire)

11 Rue De La Croix Bayon, 42720 VOUGY
(proche ROANNE)

FERMETURE
bruno.mainaud@wanadoo.fr